Et Probunun Kullanılması
Genel uyarı ve bilgiler
- Et probunun çalışması için, fırının belirli bir çalışma fonksiyonu ve sıcaklığa ayarlanması gerekir.
- Et probunu kullanmadan önce fırın saatini belirli bir pişirme süresi ayarı yaptıysanız, et probu takıldığında bu süre otomatik olarak iptal olur.
- Et probu ile pişirme yaparken, et probu soketinin üzerinde bulunan raflar kullanılamaz.
- Et probunu her kullanım sonrası ıslak bir bezle temizleyip kuru bir bezle kurulayın.
- Et probunun aktif olduğu çalışma fonksiyonlarında, ekranda 75C ifadesi görünmüyor ise, bağlantı soketinin yuvasına tam oturduğuna emin olun.
- Et probunun sensör ucu ete saplanmadan kullanılacak olursa, sensör ucu fırın içerisindeki sıcaklığı algılar ve ayarlanan sıcaklığa gelince pişirmeyi sonlandırır. Ancak et probu 250 °C ve üzeri sıcaklığa maruz kalırsa sensörü kullanılmaz hale gelir.
- Çalışma fonksiyonu sıcaklığı en az , et probu sıcaklığından 30 °C fazla olabilir. Örneğin: Et probu sıcaklığı 70 °C olarak ayarlanmışsa, çalışma fonksiyonu sıcaklığını en az 100 °C ye ayarlanabilir.
- Gıda güvenliği açısından kırmızı etin merkez sıcaklığı (en soğuk nokta) minimum 63°C olmalıdır.
- Gıda güvenliği açısından kanatlı etlerin en soğuk noktasının merkez sıcaklığı minimum 74°C, iyi pişmiş olması için merkez sıcaklığı 85°C olmalıdır.
Kırmızı etlerin pişme aralıkları için referans tablo:
Pişme Derecesi Et merkez sıcaklığı* (°C)
Çok az pişmiş 55-59
Az pişmiş 60-62
Orta az pişmiş 63-70
Orta pişmiş 71-76
İyi pişmiş77-81
Çok pişmiş ≥82

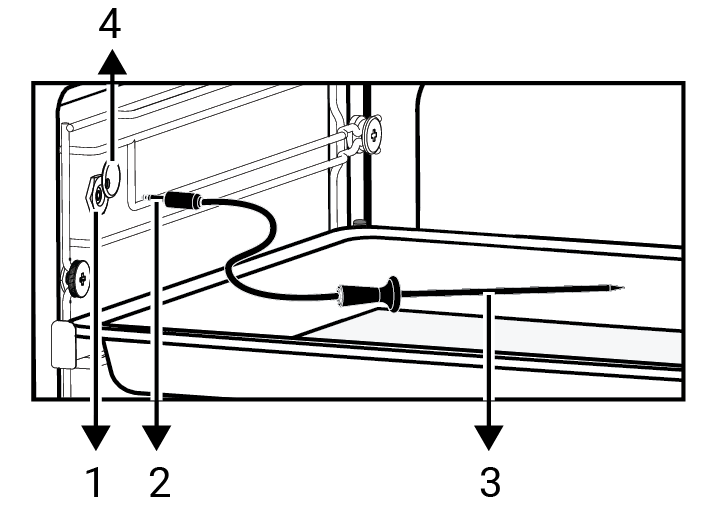
1 | Et probu yuvası |
2 | Et probu bağlantı soketi |
3 | Et probu sensör ucu |
4 | Et probu yuvası kapağı |
Et probunun ön ısıtma yapılmadan kullanılması
- Pişirme menüsünden, et probu ile pişirme yapmak istediğiniz pişirme fonksiyonunu seçin. Seçtiğiniz fonkisyonda et probu sembolü olduğundan emin olun.
- Fırın içi sıcaklığını ayarlayın.
- Et probu sıcaklığı için, ekranda et probu sembolü üzerine dokunduktan sonra kontrol düğmesini sağa/sola çevirerek istediğiniz sıcaklığı ayarlayın.
DUYURU

Önerilen et probu sıcaklığı 75 °C derecedir. İsterseniz sıcaklığı 40-99 °C arasında değiştirebilirsiniz. Tam buhar fonksiyonunda bu sıcaklık aralığı 40-80 °C arasındadır.
- Tepsinizi fırının içerisine yerleştirmeden önce probu etinize saplayın ve tepsiyi fırın içerisine yerleştirin.
- Fırın yan duvardaki yuva kapağını yukarı doğru kaydırıp et probu bağlantı soketini et probu yuvasına yerleştirin.
- Ekranda "BAŞLAT" tuşuna dokunarak pişirmeyi başlatın. Ön ısıtma ekranı görünür. Ön ısıtmayı kontrol düğmesini "ATLA" seviyesine getirip kontrol düğmesine bir kez basın.
- Ekranda "tepsiyi koyunuz." uyarısı gelecektir. Fırını kapağını açıp kapayın. Pişirme başlayacaktır.

» Fırınınız, et probunun takıldığını otomatik olarak algılar ve ekranda prob ve fırın içi sıcaklığı görünür. Et probu sensörü, etin içerisindeki sıcaklığın, ayarlanan dereceye geldiğini otomatik olarak algılar ve pişirmeyi sonlandırır. Pişirme bitmeden prob yuvasından çıkarılırsa ekranda uyarı mesajı görünür.
Et probunun ön ısıtma yapılarak kullanılması
- Pişirme menüsünden, et probu ile pişirme yapmak istediğiniz pişirme fonksiyonunu seçin. Seçtiğiniz fonksiyonda et probu sembolü olduğundan emin olun.
- Fırın içi sıcaklığını ayarlayın.
- Et probu sıcaklığı için, ekranda et probu sembolü üzerine dokunduktan sonra kontrol düğmesini sağa/sola çevirerek istediğiniz sıcaklığı ayarlayın.
- Prob soketini, fırındeki prob yuvasının kapağını kaldırarak takın. Probun diğer sensör ucunu fırın içerisine bırakın.
- Ekranda "BAŞLAT" tuşuna dokunarak pişirmeyi başlatın. Ön ısıtma ekranı görünür. Pişireceğiniz yemeğe özel olarak ön ısıtmanın bitmesini bekleyin.
- Ön ısıtma tamamlandıktan sonra tepsinizi ilgili rafa yerleştirin. Koruyucu eldiven kullanarak, probun sensör ucunu etinize saplayın. Ön ısıtma sonrası fırın içi ve et probu sıcak olacağından koruyucu eldiveni mutlaka kullanmalısınız.
- Fırınınız, et probunun takıldığını otomatik olarak algılar ve ekranda prob ve fırın içi sıcaklığı görünür. Et probu sensörü, etin içerisindeki sıcaklığın, ayarlanan dereceye geldiğini otomatik olarak algılar ve pişirmeyi sonlandırır. Pişirme bitmeden prob yuvasından çıkarılırsa ekranda uyarı mesajı görünür.